ALVACO Ductile Iron Valves
-
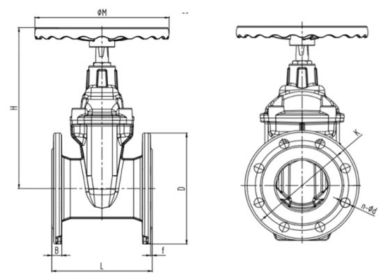
- Diameter DN40-1200
- Pressure PN10-25
- Drinking Water & Sewage Applications
- with 250 microns powder epoxy coating
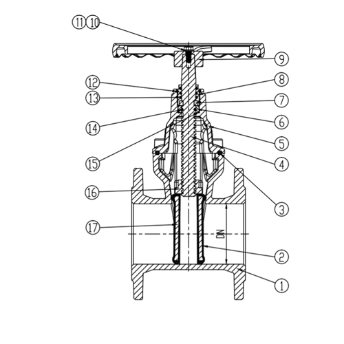
Resilient Seated Gate Valve (F4)
Flange type, DN40-600
Specification
Size Range: DN40-600
Pressure Class: PN10/16
Medium: Drinking and neutral water up to 70°C
Design: EN1074 / EN1171
Face to face: EN558-1 (Serie 14&15) / ISO3202 (F4&F5)
Flange connections: EN1092-2
Pressure test: EN12266-1
Operation: Handwheel / Headcap
Features
Fully vulcanized wedge in EPDM according to EN681
Maintenance free
Full bore
100% watertight
Coated with FB epoxy minimum 250 μm thickness blue color RAL5005
Description
Gate valve is mainly used to connect and cut off the medium in the pipeline by rotating the stem. Resilient-seated gate valve with bolted cover connection; made of ductile iron and with epoxy coating, designed as both clockwise and anti-clockwise directions. The ductile iron core is fully vulcanized internally and externally with drinking water approved EPDM rubber. No iron parts are exposed to the medium and the excellent rubber vulcanization prevents creeping corrosion underneath the rubber. Guides in the wedge and on the valve`s body ensure a uniform closure regardless of high pressure. Safe operation is ensured, as the guides prevent overloading of the stem. The wedge has a large through bore and as there are no hollows in the core, stagnant water or impurities cannot collect and cause contamination.
More information:
